HUELLAS DE ARQUITECTURA
Buscar
Menú Principal
Saltar al contenido
ARQUITECTURA
Monografías
Antecedentes
Arquitectura oriental
Guastavino y la bóveda tabicada
Arquitectura Orgánica y la escuela de Wright
Frank Lloyd Wright
John Lautner
Escuela Taliesin
Los nuevos orgánicos
Kendrick Bangs Kellogg
IBUKU
Únicos e inclasificables
Carlo Scarpa
Arquitectura laminar
Movimiento Moderno
Movimiento Moderno Estadounidense
Robert Roloff
Deconstructivismo
Zaha Hadid
Arquitectura contemporánea
Europa
Archikubik
BIG Architects
Ecoproyecta
Ecosistema Urbano
Mayer Jürgen
Norman Foster
OAB – Ferrater
Latinoamérica
Giancarlo Mazzanti
RAMA Estudio
Japón.
ALTS Design Office
Kengo Kuma
Shoei Yoh
Toyo Ito
India
Sameep Padora
Oceanía
Architectus
Arquitectura efímera
Paisajismo
Roberto Burle Marx
CONSTRUCCIÓN
Así se construyó…
Los materiales.
Hormigón
Madera estructural
Madera
Bambú
Paja
Aislantes
BIOCLIMÁTICA
Confort y bienestar.
Estrategias pasivas
Muro Trombe
Invernadero
EFICIENCIA ENERGÉTICA
Marco legal y Certificación energética.
Ahorro y consumo sostenible
Estándar Passivhaus
Energías alternativas
Opinión
Concienciación
Buscar:
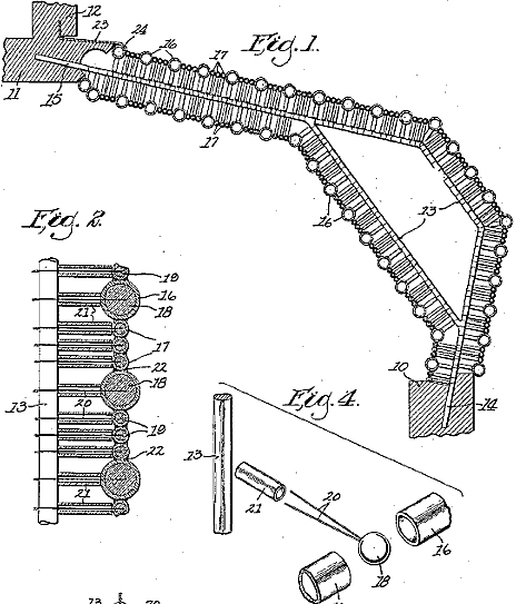
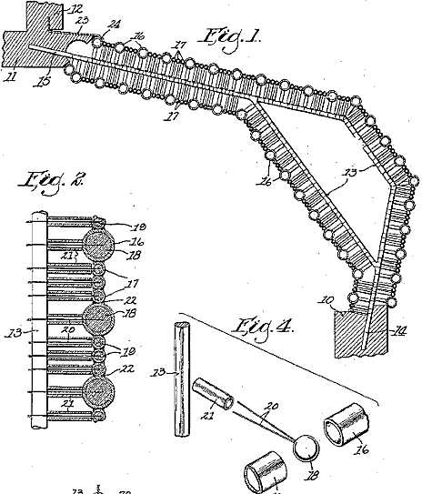
Johnson Wax_sección esquina
24/11/2015
464 × 543
Johnson Wax_sección esquina
Sección esquina
Deja un comentario
Cancelar la respuesta
Δ
Evolución de la arquitectura moderna, bioclimática y sostenibilidad.
Filosofía del blog · acerca del autor
Contactar
Comentar
Suscribirse
Suscrito
HUELLAS DE ARQUITECTURA
Únete a otros 121 suscriptores
Suscríbeme
¿Ya tienes una cuenta de WordPress.com?
Inicia sesión
.
HUELLAS DE ARQUITECTURA
Suscribirse
Suscrito
Regístrate
Iniciar sesión
Copiar enlace corto
Denunciar este contenido
Ver la entrada en el Lector
Gestionar las suscripciones
Contraer esta barra
Cargando comentarios...
Escribe un comentario...
Correo electrónico
Nombre
Web